
國內外五金螺絲螺母緊固件行業新聞資訊速遞

昨日(2月19日),國務院《2025年穩外資行動方案》正式對外公布,《方案》明確,2025年穩外資工作要做好有序擴大自主開放、提高投資促進水平、增強開放平臺效能、加大服務保障力度4方面共20項重點任務。特別是在制造業領域,通過擴大開放、提高...

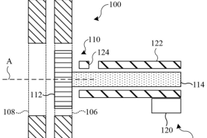
來自國家知識產權局專利局的消息,新能源巨頭寧德時代今日取得一項新的緊固件專利,以下為該專利相關情況:

值此辭舊迎新之際,合泰非標螺絲全體員工向您致以最誠摯的新年祝福!祝愿大家在2025年事業蒸蒸日上,家庭幸福美滿,生意興隆、財源廣進!!

我國海關總署公布數據,截至2024年10月底,今年我國緊固件出口呈現繼續保持增長態勢,但總體均價有所下降,以下是合泰非標螺絲小編對海關總署這份有關緊固件出口數據的詳細分析

五年燒烤無人問,一曲諾言天下知。菏澤樹哥郭有才紅了,并且是一夜爆紅,這不禁讓合泰螺絲小編驚愕不已,但經過小編連夜對菏澤樹哥郭有才的全面了解,我們不難從郭有才的成功當中挖掘出對非標螺絲螺母緊固件行業的眾多啟發

5月9日最新消息,瑞典鋼鐵公司(SSAB)推出了全球首款用于商業交付的無碳排放鋼粉,該粉末產品結合了SSAB高強度鋼的特性和3D打印輕量結構的可能性,在不排放二氧化碳的情況下,該產品的面世,對定制類非標螺絲螺母緊固件3D打印行業具有重要意義

宗慶后先生辭世已有多日,但是國內網民為了表達對宗老的崇敬之意,紛紛發起搶購娃哈哈產品的行動至今方興未艾。作為一個名持續20年以上的創業者,本人連日來一句古訓一直在心間環繞:積善之家必有余慶。。。。。 在這個紛繁復雜的世界里,每個人都有自己的...

尊敬的新老客戶和供應商: 新春佳節,龍年吉祥!值此2024年新春之際,合泰非標螺絲廠家全體員工向您和您的家人致以最誠摯的祝福和問候! 辭舊迎新,龍騰虎躍,我們感謝您對合泰的長期信任與支持。過去的一年,因為您的支持和厚愛,合泰在非標螺絲行業再...

昨日(12月12日),習大大應邀訪問鄰國越南,掀起中越友好合作新熱潮,合泰非標異型螺絲廠家評論員認為,受益于兩國制造業的不斷發展,中越緊固件行業在合作方面存有諸多機遇: 市場需求與供給: 中國和越南都是制造業強國,兩國都有著龐大的市場需求。...

昨日(12月6日),2023世界智能制造大會(以下簡稱為大會)在南京召開,大會透露我國已成為全球最大的智能制造應用市場。 大會消息,當前,智能制造日益成為推動產業體系優化、制造模式變革的關鍵力量。近年來,我國智能制造發展取得了一系列重大實踐...

合泰非標異型螺絲廠家通訊員消息,蘋果公司在中國專利局成功申請獲得一款緊固件產品的專利,該專利名稱為“隱藏式緊固系統”,專利號為“CN117145329A”。 通信員從專利局網站查詢顯示,該專利涉及隱藏式緊固系統。一種用于將第一部件固定到第二...

昨日(12月1日),合泰非標異型螺絲廠家通訊員消息,為解決日益嚴重的大型企業拖欠中小企業賬款問題,切實保障中小企業的合法權益,國家市場監管總局日前開展打擊大型企業拖欠中小企業賬款專項行動(以下簡稱專項行動),將持續至12月10日。 據相關負...
134-8047-9046
復制已復制東莞市大朗鎮富通路536號正強達工業園1棟104-105
復制已復制

